Артикул: Разделитель дымоудаления
2 500 ₽
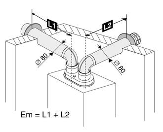
Адаптер 80/80 предназначен для перехода на двухтрубную систему дымоудаления, где одна труба выступает в качестве отвода продуктов сгорания, вторая - притока воздуха.
